武汉工程科技学院2023-2024本科教学质量报告
(一)坚持应用型办学定位,不断提升服务地方经济社会发展的能力 1
武汉工程科技学院(原中国地质大学江城学院)创办于2004年2月,是一所经教育部批准的全日制普通本科高校。2014年5月,学校经教育部批准转制并更名为武汉工程科技学院,同年9月,学校成为湖北省首批应用型人才培养试点高校。学校于2023年顺利通过普通高等学校本科教学工作合格评估。
学校地处武汉市江夏区,依青龙山麓而建,毗邻中国光谷,交通便捷,建成了环境优雅的绿色校园、书香校园、智慧校园和平安校园。学校占地面积83.32万平方米,建筑面积50.59万平方米,教学行政用房面积29.41万平方米。
学校办学20年,坚持社会主义办学方向,牢记为党育人、为国育才使命,落实立德树人根本任务,扎根中国大地办人民满意的教育,形成了引领学生成长、推动学校发展、促进社会进步、具有学校特色的大学精神和文化,凝练了“一训四风”。学校坚持走服务区域经济社会发展,培养高素质应用型人才的发展之路;形成了“四育多元”的人才培养模式和“平台+模块”的课程体系;积极搭建国际合作交流平台,通过“走出去、引进来”的方式,拓宽学生的国际视野;构建“三位一体”创新创业工作机制和“四化”志愿服务体系,提升学生的创新能力和综合素质。
学校设有机械与工程学院、计算机与人工智能学院、经济与管理学院、艺术与传媒学院、人文学院、马克思主义学院和国际教育学院。开设有机械制造及自动化、土木工程、产品设计(珠宝首饰设计方向)等31个本科专业和建筑工程技术等13个专科专业,涵盖六大学科门类,形成了以工为主,工学、艺术学、管理学、教育学、文学、经济学等多学科融合协调发展的格局。在校学生折合25011人,其中本科生13971人;自有专任教师691人,高级职称教师占33.72%,具有硕士、博士学位教师占84.37%,双师双能型教师占30.97%。教师队伍年龄、学历、专业技术职务等结构合理,整体素质较好地满足了学校定位和人才培养目标的要求。
学校建有基础和专业实验(训)室144个,生均教学仪器设备值5190.52元,校内各种体育场馆设施齐备,较为稳定的校内外实习(训)基地167个,生均图书80.04册,校园网总出口带宽43G,办学条件基本满足人才培养需要。
学校积极推动教育教学改革,不断提升人才培养质量和办学水平。近年来,学校获批教育部产学合作协同育人项目57个,湖北省重点培育学科1个,“楚天学者”设岗学科2个,湖北省“十四五”省级优势特色培育学科2个,湖北省重点培育本科专业2个,湖北省一流本科专业建设点3个,省级优秀基层教学组织3个,省级教学团队1个,湖北省高等学校战略性新兴(支柱)产业人才培养计划3项,湖北省“荆楚卓越人才”协同育人计划项目1个,省级精品课程1门,省级一流课程14门,省级优秀中青年科技创新团队计划项目1个;获省级教学成果奖4项,省级科学技术成果奖5项。
学校先后荣获湖北省“高校大学生思想政治教育工作先进基层单位”“湖北省心理健康教育示范中心”、湖北省科技厅“大学生校园科技孵化器”、湖北省教育厅“大学生创业示范基地”“湖北省双学士学位授权单位”“湖北省征兵工作突出单位”“湖北省艺术教育先进单位”、武汉市“平安高校”建设示范单位等荣誉。被社会评为“中国高水平民办大学”“中国最具品牌影响力民办高校”。
学校高度重视办学定位对学校发展的引领作用,依据国家经济和行业产业升级对一线人才的需求,贯彻高等教育分类指导、特色发展的要求,明确了五个定位和一个目标。
办学类型定位:地方性、应用型普通本科高校。
服务面向定位:立足湖北,面向中部,辐射全国。
学科专业定位:以工为主,工学、艺术学、管理学、教育学、文学、经济学等多学科融合协调发展。
办学层次定位:以全日制本科教育为主,适量开展专科教育,适时发展研究生教育。
人才培养定位:以社会需求为导向,培养专业基础扎实、实践应用能力强、有家国情怀与国际视野,德智体美劳全面发展的高素质应用型人才。
学校发展目标:建成湖北一流、全国知名的多科性高水平应用型民办大学。
学校坚持规模、结构、质量、效益协调发展,不断优化学科专业体系。截止2024年9月,全校本科专业总数31个,当年本科招生专业总数27个。
表1 学校本科专业设置一览表
序号 | 校内专业代码 | 专业名称 | 专业代码 | 授予学位门类 | 招生状态 |
1 | 120105 | 工程造价 | 120105 | 工学 | 在招 |
2 | 081001 | 土木工程 | 081001 | 工学 | 在招 |
3 | 080701 | 电子信息工程 | 080701 | 工学 | 在招 |
4 | 080202 | 机械设计制造及其自动化 | 080202 | 工学 | 在招 |
5 | 080901 | 计算机科学与技术 | 080901 | 工学 | 在招 |
6 | 080902 | 软件工程 | 080902 | 工学 | 在招 |
7 | 080910T | 数据科学与大数据技术 | 080910T | 工学 | 在招 |
8 | 080717T | 人工智能 | 080717T | 工学 | 在招 |
9 | 120204 | 财务管理 | 120204 | 管理学 | 在招 |
10 | 120108T | 大数据管理与应用 | 120108T | 管理学 | 在招 |
11 | 120203K | 会计学 | 120203K | 管理学 | 在招 |
12 | 020301K | 金融学 | 020301K | 经济学 | 在招 |
13 | 040106 | 学前教育 | 040106 | 教育学 | 在招 |
14 | 050201 | 英语 | 050201 | 文学 | 在招 |
15 | 040203 | 社会体育指导与管理 | 040203 | 教育学 | 在招 |
16 | 050101 | 汉语言文学 | 050101 | 文学 | 在招 |
17 | 040107 | 小学教育 | 040107 | 教育学 | 在招 |
18 | 050306T | 网络与新媒体 | 050306T | 文学 | 在招 |
19 | 040201 | 体育教育 | 040201 | 教育学 | 在招 |
20 | 130309 | 播音与主持艺术 | 130309 | 艺术学 | 在招 |
21 | 130305 | 广播电视编导 | 130305 | 艺术学 | 在招 |
22 | 130503 | 环境设计 | 130503 | 艺术学 | 在招 |
23 | 130404 | 摄影 | 130404 | 艺术学 | 在招 |
24 | 130502 | 视觉传达设计 | 130502 | 艺术学 | 在招 |
25 | 130508 | 数字媒体艺术 | 130508 | 艺术学 | 在招 |
26 | 130504 | 产品设计 | 130504 | 艺术学 | 在招 |
27 | 130301 | 表演 | 130301 | 艺术学 | 在招 |
28 | 120201K | 工商管理 | 120201K | 管理学 | 已停招 |
29 | 050262 | 商务英语 | 050262 | 文学 | 已停招 |
30 | 080410T | 宝石及材料工艺学 | 080410T | 工学 | 已停招 |
31 | 120801 | 电子商务 | 120801 | 管理学 | 当年停招 |
以上31个本科专业涵盖了工学、文学、经济学、管理学、艺术学、 教育学等六大学科门类。其中工学专业9个(占29.03%)、文学专业4个(占12.90%)、经济学专业1个(占3.23%)、管理学专业5个(占16.13%)、艺术学专业8个(占25.81%)、教育学专业4个(占12.90%),如图1所示。形成了以工为主,工学、艺术学、管理学、教育学、文学、经济学等多学科融合协调发展的专业结构体系。
图1 各学科专业占比情况
目前学校全日制在校生总规模为25011人(按时点统计),其中普通本科生数为13971人,普通高职(含专科)生数11040人,本科生数占全日制在校生总数的比例为55.86%。
2024年,学校共面向21个省招生,其中理科招生省份7个,文科招生省份7个。学校2024年计划招生4455人,实际录取考生4349人,实际报到4228人。实际录取率为97.62%,实际报到率为97.22%。
我校紧紧围绕“争取生源数量,提高生源质量”这一目标,加大招生宣传力度,认真做好生源组织工作,扎实做好招生录取工作,生源数量得到了保证,生源质量得到进一步提升。
学校折合教师数为1260人,折合学生数为25011人,生师比为19.84%。
学校折合教师总数为1260人,各专业教师数量相对均衡,基本满足教学需求。专任教师中硕士学位、博士学位占比84.37%,高级职称占比33.72%,具备专业行业从业资格和任职经历的双师双能型教师占比30.97%。
2023-2024学年高级职称教师承担的课程门数为672,占总课程门数的比例为52.01%;课程门次数为1853,占开课总门次的比例为35.30%。
正高级职称教师承担的课程门数为185,占总课程门数的14.32%;课程门次数为369,占开课总门次的7.03%。教授职称教师承担的课程门数为177,占总课程门数的13.70%;课程门次数为350,占开课总门次的6.67%。副高级职称教师承担的课程门数为558,占总课程门数的43.19%;课程门次数为1488,占开课总门次的28.34%。其中副教授职称教师承担的课程门数为508,占总课程门数的39.32%;课程门次数为1392,占开课总门次的26.51%。
2023-2024学年承担本科教学的具有教授职称的教师有24人,以我校具有教授职称教师37人计,主讲本科课程的教授比例为64.86%。
本学年主讲本科专业核心课程的教授39人,占授课教授总人数比例的37.86%。高级职称教师承担的本科专业核心课程191门,占所开设本科专业核心课程的比例为66.55%。
学校坚持以教学为中心,加强教学经费预算,优先保证教育教学投入,不断改善教学条件,为教育教学工作提供了资金保障。近年来学校对教育教学改革与研究、一流专业建设、课程建设等方面予以经费重点支持,为加强教学建设、深化教育教学改革,提高人才培养质量提供了有力保障与支撑。
2024年教学日常运行支出为5795.33万元,本科实验经费支出为649.2万元,本科实习经费支出为784.01万元。生均教学日常运行支出为2317.11元,生均本科实验经费为464.68元,生均实习经费为561.17元。本科教学经费保持增长趋势,满足了人才培养需要,促进了教学质量的稳步提高。
学校总占地面积83.32万㎡,产权占地面积为83.32万㎡,学校总建筑面积为50.59万㎡。
学校现有教学行政用房面积共294068㎡(教学科研及辅助用房+行政办公用房),其中教室面积62500㎡(含智慧教室面积960.4㎡),实验室及实习场所面积60187㎡,拥有体育馆面积3266㎡,拥有运动场面积53866㎡。
按全日制在校生25011人算,生均学校占地面积为33.31(㎡/生),生均建筑面积为20.23(㎡/生),生均教学行政用房面积为11.76(㎡/生),生均实验、实习场所面积2.41(㎡/生),生均运动场面积2.15(㎡/生)。
学校现有教学、科研仪器设备资产总值1.30亿元,生均教学科研仪器设备值0.52万元。当年新增教学科研仪器设备值1021.98万元,新增值达到教学科研仪器设备总值的8.54%。
本科教学实验仪器设备8625台(套),合计总值1.086亿元,其中单价10万元以上的实验仪器设备116台(套),总值5594.60万元,按本科在校生13971人计算,本科生均实验仪器设备值7775.44元。
截止2024年08月31日,图书馆拥有纸质图书200.19万册,生均纸质图书为80.04册;图书馆共有电子图书5291672册,电子期刊26.72万册,学位论文921.52万篇,音视频382742小时。基本满足师生查阅资料及阅读使用。2023年,图书流通量达到10.39万册。电子资源访问量506.72万次,电子资源下载量13.14万次。
在信息化基础设施建设方面,学校现有2个互联网出口,出口总带宽共计43Gbps。已建成无线信息点6676个,有线信息点25250个,实现了教学区、办公区及生活区的无线网络的全面覆盖,为全校师生提供了安全、高速、稳定的网络服务。学校按多出口、双核心、双链路的标准规划建设校园骨干传输网络,校园无线核心网络按80G传输网络标准建设,教学楼、宿舍等各楼栋的网络按双链路20G传输网络标准建设,为教学专用网和校园无线网提供安全、稳定的光传输网。同时也在图书馆建设IDC中心机房,该机房打造了集网络、监控、消防于一体的机房环境,实现空间、能源、基础设施的共建共享。目前机房已达到国家二级等保测评要求,为数据中心建设提供保障。
学校各部门信息系统已基本完成建设,目前学校已上线十数套网络云版信息系统。学校积极建设门户网站,以职能部门、二级学院网站为基础支撑,形成若干主站+子站以及移动版网站集成的网站群体系。
学校紧紧围绕地方经济发展、行业需求和产业结构转型增设新专业,努力形成办学优势突出、特色明显、布局合理、与社会发展结合紧密的专业体系。学校建立专业的评估和动态调整机制,把社会需求、招生计划、录取率、报到率、就业率等作为优化专业布局、调整专业结构的量化指标。对就业情况排名靠后、市场需求情况较差的专业暂缓招生。对连续三年无生源或生源极少的专业,学校做出停止招生处理。
学校始终坚持把立德树人成效作为检验一切工作的根本标准,不断深化教育教学综合改革,提高人才培养质量。学校组织制定《武汉工程科技学院一流本科专业建设实施意见》,坚持育人导向,对焦社会需求,注重内涵建设,明确专业建设目标,优化师资队伍结构,整合专业资源,深化专业改革内容。重点建设了一批校内一流专业,学校现有电子信息工程、英语、会计学等3个省级立项建设一流专业。加强特色专业的培养,大力支持特色专业的师资队伍和教学平台建设,引导专业差异化、内涵化、优势化发展。
本学年,学校共开设本科生公共必修课、公共选修课、专业课共1292门,5250门次。学校出台了一系列的规划、标准,有效地引领了课程建设。围绕培养目标,编制执行教学大纲。教学大纲规范完备,保证课程设置、教学内容符合各专业人才培养目标,对接各学科专业发展方向和经济社会发展需要。制定并严格执行课程教学大纲编制规范。教学大纲的修订严格执行学院审核、教务处备案程序。在学校的教学检查工作中,对教学大纲的执行及教学日历的进度进行严格把关。
学校制定了《武汉工程科技学院教材管理办法》等文件,明确了教材选用的原则、标准和程序,坚持应用性和先进性相结合的原则,优先选用今年出版的优秀应用型教材。学校鼓励自编教材,优先支持应用型教材、实验教学类教材和大学生创新创业类教材的编写出版。为推动转型发展,使教学建设更好地适应应用型人才培养方案,学校把教材建设作为专业建设、课程建设、教学团队建设等教学改革的重要内容,以校企、校校合作为主要途径,重点进行专业课程和专业实践教学环节教材建设。根据修订后的培养方案,有计划、有步骤的组织教材编写工作,形成知识结构体系好的专业系列教材。教材编写工作遵循调研、试用、修订、出版的基本流程,先编写内部教材或者讲义,经三轮校内试用和评估后再出版;同时做到专业课和实践环节教材的全覆盖。2024年,本校教师作为第一主编共出版专著、教材共17本。
本学年本科生开设实验的专业课程共计759门,其中独立设置的专业实验课程171门。学校有实验技术人员30人,具有硕士及以上学位11人,所占比例为36.67%。学校专业平均总学分170.90,其中实践教学环节平均学分68.63,占比40.16%。
学院对毕业设计(论文)严格管理,针对毕业论文(设计)选题、开题、撰写、答辩、成绩评定等环节作出了明确规定,对毕业论文实行全面查重,鼓励毕业设计(论文) 课题与社会实际相结合,提高毕业论文(设计)的应用性、可行性与创新性,增强学生的知识综合应用能力。
本学年共提供了3702个选题供学生选做毕业设计(论文)。我校共有285名教师参与了本科生毕业设计(论文)的指导工作,指导教师具有副高级以上职称的人数比例约占56.14%,学校还聘请了261位校外教师担任指导老师,平均每位教师指导学生人数为6.78人。
学校制定了《武汉工程科技学院本科毕业设计(论文)工作规范(修订)》,实行全过程、规范化管理,对重点环节开展专项检查。对毕业设计(论文)的质量进行全过程的监控,包括毕业设计(论文)的选题、中期进度、答辩以及归档进行检查,规范过程管理。
学校积极与企事业单位紧密合作,共建校内外实习实训基地167个,本学年共接纳学生2833人次。制订实习实训管理办法、实践教学经费管理办法等,从组织实施、过程管理、考核评价、教学任务和时间安排等方面提出明确要求,将实习经费列入专项预算,校内骨干教师与校外技术人员共同指导,确保实习实训效果。
学校的实践教学体系,涵盖实验教学、工程训练、实习、课程设计、毕业设计(论文)、学科竞赛、社会实践等教学环节。围绕实践教学体系框架,各专业结合自身特点,在教学实践中充分利用实验、实训条件,做到“课内与课外结合,理论与实践结合、校内与校外结合”,注重对学生专业理论与专业技能、工程能力与创新素养的培养,学生的专业知识、动手能力和创新精神得到较大的提高。
(五)创新创业教育
学校积极构建“以培养学生创新创业能力为核心,以创新教育课程为基础,以各类实践训练为平台,以实验室开放为补充,以学科竞赛为抓手”五位一体的双创育人机制,组织实施大学生创新创业训练计划项目,促进创新创业教育与专业教育的有机融合,打造“专业+”创新创业活动体系,提高学生活动的科技含量。本学年学校共立项建设省部级大学生创新创业训练项目5个。
学校将深化创新创业教育改革列入学校发展规划,并在规划中明确提出要面向全体学生、全体教师参与,积极构建创新创业教育体系,将创新创业教育改革融入人才培养全过程,扎实推进“双创”实践育人平台建设。学校紧密依托优势学科专业和实践平台,向创新创业活动中“学生”“项目”“团队”三大主体搭建服务体系,促进人才培养、项目培育、团队孵化互相融合。2023-2024学年,学校创新创业中心拥有创新创业教育实践基地(平台)8个,其中高校实践育人创新创业基地1个,大学生创业园1个,创业孵化园2个。
根据教育部《关于狠抓新时代全国高等学校本科教育工作会议精神落实的通知》(教高函〔2018〕8号)相关要求,学校高度重视教学改革研究工作,积极组织各级各类教学研究改革项目并严格过程管理。
2023年,我校获省部级教学成果奖1项,本学年我校教师主持建设的省部级教学研究与改革项目3项,建设经费达6万元。
表2 2023年我校教师主持省级及以上本科教学工程(质量工程)项目情况
项目类型 | 国家级(教育部)项目数 | 省部级项目数 | 总数 |
|---|---|---|---|
产学合作协同育人项目 | 13 | 0 | 13 |
线下一流课程 | 0 | 3 | 3 |
学校以新时代中国特色社会主义思想为指导,坚持党的教育方针和社会主义办学方向,围绕立德树人这一根本任务,结合国家创新驱动发展战略和区域经济社会发展的新需求,确立了以社会需求为导向,培养专业基础扎实、实践应用能力强、有家国情怀与国际视野,德智体美劳全面发展的高素质复合应用型人才的人才培养目标,形成了“四育多元”的人才培养模式和“平台+模块”的课程体系。
科学制定培养目标,聚焦专业内涵发展,坚持需求导向,全面贯彻“学生中心、产出导向、持续改进”的OBE理念,修订人才培养方案、课程教学大纲,开展专业核心课程建设,严格教育教学管理,强化过程考核,建立多维度综合评价体系,开展新设专业、预警专业自我评估,开展学生学习满意度调查、毕业生及用人单位回访,建立招生就业与人才培养联动机制,专业培养能力、人才培养质量显著提升。
结合各学院学科专业特点和学校实际,致力于建设工程师的培养基地、高级IT工程师的成长摇篮、商务精英的摇篮、牵手国际名校的摇篮、文化创意产业设计师的摇篮。
突出专业知识、创新能力和实践能力培养三条主线,确定由通识教育课程、专业教育课程、创新创业教育课程和职业能力课程四类课程模块过程课程体系。夯实通识教育,在通识必修课之外,增设通识选择性必修课。强化专业教育,优化实践能力培养,工学类、经济类、教育类、管理类、文学类、艺术类专业,分类平均实践教学学分占总学分的比例分别达到38.27%、31.63%、46.20%、33.80%、33.63%、47.64%。优化创新创业课程体系,增加创新创业选修课数量,根据不同专业的培养需要,加强专业知识、技能的综合训练,突出过程的培养,提高学生的应用能力。表6为全校各学科2024级本科培养方案中各学科学分统计情况。
以素质必修课程、创新创业课程、创新创业实践活动、第二课堂、社团活动等构建较完善的综合素质教育体系,实现育人和育心相结合、必选与选修相结合、第一课堂和第二课堂相结合、全方位、全员培养应用技术型人才。其中,必修项目包括志愿者服务、公益劳动、课外阅读、感恩行动、思政课自主学习等,选修项目包括自主创业、国际文化交流、社团文体活动、学科竞赛、技能竞赛、科技创新、学生科研成果、其他类(由各专业设置其他特色项目)等,努力为社会培养综合素质较高、适用面较宽、技术实践应用能力较强的应用型人才。
我校专业带头人总人数为31人,其中具有高级职称的31人,所占比例为100%,获得博士学位的2人,所占比例为6.45%。本学年,学校各专业平均开设课程41.68门,其中公共课4.65门,专业课30.80门;各专业平均总学时3005.29,其中理论教学与实验教学平均学时分别为1682.23、605.65。共开设本科生公共必修课、公共选修课、专业课共1292门、5250门次。
(三)立德树人落实机制
学校落实立德树人根本任务,坚持五育并举、三全育人,一体推进成人成才教育。学校坚持党建引领思政工作,建立“面向全体、分类引导、重点培养”的长效育人机制,深入推进思政教育改革创新,实施文明修身、学风建设、创新创业、志愿服务和以文化人工程,构建课程育人、实践育人、网络育人、组织育人等“十大育人”体系,注重认知学习、情感体验、意志磨炼、行为养成有机统一,不断提升思政教育实效。
深入贯彻《高等学校教师职业道德规范》《教育部关于建立健全高校师德建设长效机制的意见》《中共中央 国务院关于全面深化新时代教师队伍建设改革的意见》等文件精神,学校立足长远发展和教师队伍建设实际,将师德建设各项要求落实到教师管理各项制度中,大力倡导“立德树人”的师德师风,开展师德建设专题教学学习,不断强化师徳宣传和师德教育。
创新形式,丰富内容,思想政治教育贯穿育人全程。大力推进三全育人工作,开展思想政治工作质量提升工程,构建了思想政治工作体系,实现课程思政与思政课程同向同行、日常思政工作与思政课程同频共振,形成人人、事事、时时、处处皆育人的全员全方位全过程协同育人局面。
学校成立教师发展中心,通过专家讲座、素质拓展、讲课比赛、挂职锻炼、学术会议等多形式提升教师执教能力;重点加强“双师型”教师建设,鼓励教师深入企业挂职锻炼半年至一年,不断提升教师的教育教学水平。
实践教学是深化学生知识学习、强化能力训练的重要环节,学校不断加大经费投入,加强实践教学条件建设,着力提升学生实践能力和创新能力,培养适应社会需求的高素质应用型人才。
学校的实践教学体系,涵盖实验教学、工程训练、实习、课程设计、毕业设计(论文)、社会实践等教学环节。本学年学校专业平均总学分170.90,其中实践教学环节平均学分68.63,占比40.16%,实践教学环节学分最高的专业是产品设计专业,为83学分,最低的专业是财务管理专业,为45.5学分。
学校坚持教学工作中心地位,牢固树立人才培养质量是高校办学生命线的观念。实行人才培养工作责任人制度,明确校长是学校人才培养工作的第一责任人,各二级学院院长是本单位人才培养工作的第一责任人。建立健全了校领导班子研究本科教学的工作机制,确保学校人才培养质量不断提升。
我校现有校领导10名。其中具有正高级职称4名,所占比例为40.00%,具有博士学位2名,所占比例为20.00%。2023-2024学年,校务会多次研究本科教学及相关议题。校领导不定期深入教学一线,了解各学院专业建设和学科发展情况,身体力行推进落实听课制度,督促课堂教学质量提升。本学年校领导听课达264学时。
学校高度重视教学管理队伍建设工作,注重培养教学管理人员的服务意识,现已形成了一支较为稳定的教学管理队伍。形成了由分管教学副校长、教务处处长、教学质量管理中心教学督导、各二级学院院长、教学副院长、实践教学副院长、教学秘书、实验中心主任等组成的教学管理队伍。我校校级教学管理人员17人,其中高级职称3人,所占比例为17.65%;硕士及以上学位12人,所占比例为70.59%。院级教学管理人员29人,其中高级职称6人,所占比例为20.69%;硕士及以上学位22人,所占比例为75.86%。
教学管理队伍较稳定,服务意识强。大部分管理人员从事教学及管理工作多年,熟悉岗位工作,具备履行岗位职责的能力。二级学院负责人长期在教学一线,专业知识强,经验丰富;校领导和中层管理干部通过听评课与查课工作,深入教学一线了解情况,汇集各方信息,及时解决各类教学问题。
我校目前有专职学生辅导员126人,学生辅导员中,具有中级职称的19人,所占比例为15.08%,学生辅导员中,具有研究生学历的118人,所占比例为93.65%,具有大学本科学历的8人,所占比例为6.35%。
学校配备专职的心理咨询工作人员9名,学生与心理咨询工作人员之比为2779.00:1。
近3年,学校把构建主要教学环节质量标准与监控体系作为本科教学质量与改革工程的一项重要内容,已经形成了一套完整的课堂教学、实验教学、课程设计、毕业设计(论文)、实习教学、考试等环节的质量标准与监控体系,通过建立监控网络、健全监控制度、规范监控程序,形成质量监控闭环,对教学质量进行全方位、常态化监控。
(1)建立两级监控网络
一是学校层面,从教学质量目标和管理职责,教学资源管理,教学过程管理,教学质量监控、分析和改进四个方面对学校的教学质量进行监控(总框图见图2)。

图2 武汉工程科技学院教学质量保障体系总框图
其中,校长及相关校领导主要负责教学质量目标和管理职责相关工作,主要内容包括学校定位和办学思路,质量目标,专业设置,职责、权限和沟通,管理评审,教学评估。主管人事副校长和主管财务副校长主持教学资源管理工作,主要内容包括人力资源管理、教学经费管理、设施建设与管理、教学基本建设管理、教学改革与研究。主管教学副校长和主管学生工作党委副书记主持教学过程管理工作,主要内容包括培养计划制定、招生工作、培养人才全过程、教学文件档案管理。主管教学副校长主持教学质量监控、分析和改进工作。校领导每学期均进行随机听课评价,在特殊时间节点(如开学、重要节假日、重要事件)对教学秩序进行巡查。
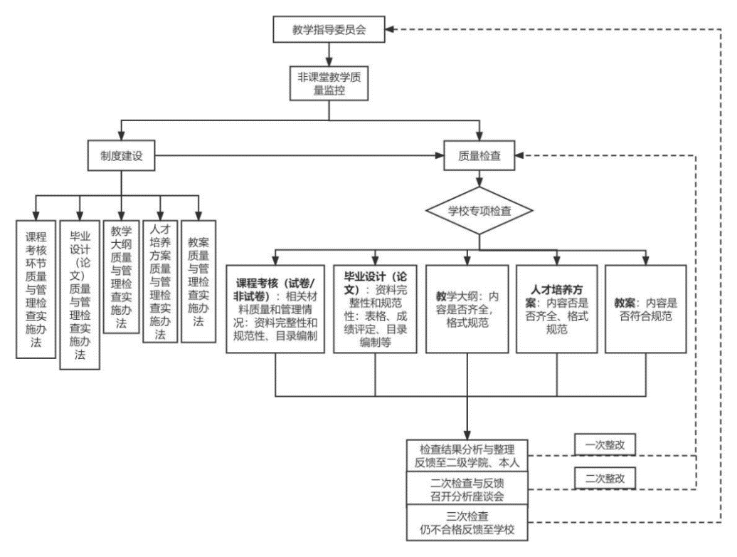
学校成立了教学质量管理中心,在分管教学副校长的领导下,从课堂教学质量监控(框图见图3)、非课堂教学质量监控(框图见图4)两个方面出发实施教学质量监控。

图3 课堂教学质量监控框图

图4 非课堂教学质量监控框图
其中,课堂教学质量监控(见图3)通过督导管理制度、听课制度、学生评教制度、日常教学秩序巡查制度、教学质量评估指标体系等制度建设,依靠校、院两级督导队伍、学生信息员,组织校、院级督导、行政领导听课,教师互评、学生评教,开展日常教学秩序检查以及考务巡查等课堂教学质量监控工作。非课堂教学质量监控(见图4)则是依据本科各主要环节质量标准制订课程考核、毕业设计(论文)、教学大纲、人才培养方案、教案等质量与管理检查实施办法,定期开展各类专项检查。通过初次检查、分析、整改、二次监控、循环监控的模式开展全校课堂与非课堂教学质量的监控工作,并及时向教学指导委员会汇报监控、分析、改进结果。
二是二级学院层面,成立二级学院院级教学工作督导组,由二级学院院长领导,教学副院长和实践教学副院长组织实施,负责对本学院教师的教学情况进行监控。院领导、二级学院教学督导开展日常教学秩序巡查及其他各项教学专项自查、检查工作。督导组负责监控听课制度的实施,课堂教学质量的监控,定期组织检查试卷命题、阅卷、试卷质量分析、实习实践、毕业设计(论文)等教学档案的质量,从中发现问题,解决问题。教学质量管理中心人员不定期抽查相关的教学档案,强化教师课堂教学纪律督查,规范教学材料的管理工作。
一是领导干部听课制度。根据《武汉工程科技学院听课制度》,校领导和各职能处室负责人每学期听课不少于6次;院长和副院长每学期听课不少于8次;系(教研室)主任每学期听课不少于6次。领导干部进行随堂听课,可同时进行教学工作的常规检查,及时发现问题、处理问题,并认真填写《武汉工程科技学院听课记录册》。
二是教学评估制度。定期开展人才培养、教学管理与质量监控等本科教学基本状态数据的采集工作,编制年度本科教学质量报告,及时总结本科教学改革经验;定期开展课堂教学质量评估,课堂教学评估由学生评价、同行评价、专家评价、领导评价四部分组成;适时开展课程建设质量评估和专业评估;重点开展期末考试专项评估和本科毕业生学士学位论文(设计)工作评估等。
三是教学督导、督学制度。教学督导采取咨询、听课、会议、座谈、问卷等方式,对学校教学活动、教学过程以及教学管理进行督查、调研、反馈、指导等。督学主要是从任课教师、辅导员、教学管理人员、学生信息员四类人员入手,分工协作,督查学生学习过程。
四是学生信息员制度。学校建立学生信息员制度,及时了解教学信息,收集并反馈学生对教师教学、教学管理、教学条件以及教风学风建设的意见和建议等。
五是常规教学检查制度。教学质量管理中心、教务处及各二级学院经常组织教学巡查,日常教学巡查均要做好记录,发现问题后及时反馈、处理。
坚持日常教学秩序检查、学校组织各级领导干部和督导参与听课、巡查教学过程、检查各类教学文件、严肃考试纪律,确保教学运行平稳有序。具体如下:
(1)开学前,校、院两级教学管理人员检查教学准备情况。
(2)开学第一周,校、院两级教学管理人员深入课堂,对新学期的教学秩序展开全面检查。
(3)在日常教学过程中,学校同时组织专职教师每学期有序参与听课活动。教学质量管理中心、教务处持续开展巡课工作,及时将教师教学、学生到课、教学楼后勤保障相关情况反馈至对应管理部门,并关注后续处理情况。
(4)在学期期中,学校开展教学过程及材料专项检查,教务处、教学质量管理中心、评建办不定期检查人才培养方案执行情况、教学资料(大纲、日历、教案)、试卷、考试、毕业设计(论文)、实习实训、教学改革研究、专业与课程建设、实习教学基地等教学落实情况,对发现的问题及时反馈并整改,并适时开展二次检查。
(5)在学期期末考试周,校、院两级教学管理人员巡视考场,监控各学院考风考纪、教师监考纪律。
课程目标达成度工作能够为进一步提升教学质量提供科学的评价标尺。通过课程目标达成度工作的开展,一是能够帮助全校教师评估当前课程设计是否合理,是否与学生的实际需求和能力水平相匹配。教师可以根据达成度的情况,优化课程内容和教学方法,使得课程设计更具科学性和实效性;二是形成了一个持续改进的反馈机制,确保教学不断适应学生需求和时代发展。教师能够根据评估结果逐步调整自己的教学方法,并跟踪改进效果;三是进一步增强了教育过程的透明度,学生、教师以及教学管理人员都能够清楚地看到教学效果与不足之处,从而进一步促进教师改进和提升。在2024年上半年,学校以人文学院为试点,推动了人文学院专业核心课程目标达成度的工作,取得了良好的工作成效。在2024年下半年,经学校决定将课程目标达成度工作全面铺开到各学院、各专业的核心课程。
推动课堂教学评价的数字化工作。我校的学生评教、同行评教、专家评教、领导评教四部分组成的课堂教学评价,每年都需要耗费大量的人力物力进行数据统计与计算。学校已在2024年上半年实现了学生评价的数字化,让学生在网上对授课老师进行评价,实现评价结果更精准、查阅数据更方便。目前,同行评价、专家评价、领导评价尚采用传统方法进行,下一步,学校准备就相应系统进行开发,实现全面数字化的课堂教学评估。
2024年共有本科毕业生3704人,实际毕业人数3613人,毕业率为97.54%,学位授予率为100.00%。
截至2024年8月31日,学校应届本科毕业生就业人数3214人,总体就业率达88.96%,待就业399人,占比11.04%。毕业生最主要的毕业去向是企业,占88.49%。升学108人,占2.99%。
(三)转专业与辅修情况
本学年,转专业学生106名,占全日制在校本科生数比例为0.76%。
办学20载,学校积极探索规模与内涵协调发展的办学道路,注重培育应用型、个性化的办学特色。
(一)坚持应用型办学定位,不断提升服务地方经济社会发展的能力
树立“六联合”的产教融合协同育人理念,联合制定人才培养标准、联合制定人才培养方案、联合搭建实习实训平台、联合推动就业创业、联合组建教学指导委员会。积极推进产学合作,设立的167个实习实践基地覆盖所有学科专业。积极响应中央号召,成立乡村振兴学院,明确了“两服务、两融合、两促进”(即服务国家发展战略、服务地方经济发展,融合实践教学、融合社会资源,促进乡村振兴、促进人培质量提升)的发展战略和工作思路,本着引导学生将论文写在中国大地上的宗旨,通过不断整合社会资源,将实践教学融入乡村振兴与企业发展,促进人才培养质量提高,服务国家发展战略和地方经济发展。
尊重学生的个性与禀赋,因材施教。一是推行通识教育、专业教育、实践教学、个性化发展四平台与思政课、语言课、身心健康、创新创业、通识素养、学科(专业)基础课、专业核心课、专业选修与专业拓展(方向)课、特色课程等九大模块的“平台+模块”的课程体系,在课程设置中增加选修课,提供个性化课程模块,满足学生个性化发展需要;二是英语实行分级教学,体育课实行项目式教学;三是设立综合素质学分,激励学生参加学科竞赛、文体竞赛、社团活动、科学研究等活动。通过积极推行个性化教学,实现了“以学生为中心、以学习绩效为中心”,把教育权还给教师,把学习权还给学生,以本为本。
学校在应用型人才培养模式探索方面做了大量工作,特别是在武汉市范围内与众多企事业单位开展产学研合作教育取得一定成效,但个别专业的人才培养与地方产业发展需求尚有差距,与行业企业联合开展人才培养、联合开发课程、联合构建实践教学体系还不够全面、不够深入,学生受益面有限,合作教育的渠道有待拓宽、层次有待提升、机制有待完善。
下一步,我校将继续高度重视产学融合发展,不断提高对实施产学研合作教育重要意义的认识;不断创新和完善合作机制与形式,大力争取上级部门和社会机构的支持,充分发挥政府部门在牵线搭桥、构建平台和促成合作的作用;进一步扩大校企合作的深度与广度,共同策划应用型人才培养之路;不断加强科研对产学研合作教育的服务支持,不断强化科研制度的引导作用,完善科研成果评价机制,提升科技服务实力。
我校作为应用型高校,虽然在“地方性、应用型”上下了功夫,与学校所在的地方、区域建立紧密关联,主动融入服务区域经济社会发展大局。但由于我校教师的科研水平尚需进一步提升,存在对属地地区的经济社会发展贡献度与影响力不强的情况。
下一步,我校继续落实差异化发展,以区域经济发展需求为导向,不断调整和优化学科专业;打造高水平应用型科研团队,针对学校重点发展的学科及研究方向采取全国招聘领军人物作为学科带头人,重点引进计算机信息、智能制造类,会计金融类等方向的学科带头人,打造学科梯队;不断强化科研培训,充分发挥学校“一坛七堂”的重要作用,邀请校外知名专家举办学术讲座,提高教师研究水平;坚持走因地利导的特色化办学之路,走出“围墙”,融入和深度参与地方和区域经济社会发展的实践。